• properties
    • versatile cylindrical vibro-mounts
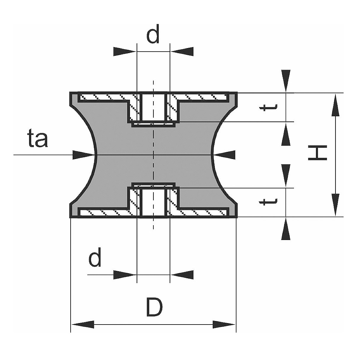
      waist-shaped with inner thread on both sides
      for vibration-isolated mounting of motors, pumps, compressors, hydraulics aggregates, ventilators etc.
    • shore hardnesses
      43, 57 and 68 Shore A
    • materials
      NR  ( natural caoutchouc ), metal parts zinc-galvanized
    • mechanically suitable for
      thrust- and pressure strain
  • special elements on request
    • special shore hardnesses
    • NBR  ( nitrile caoutchouc ) or EPDM  ( ethylene-propylene-diene-monomer )
    • metal components in stainless steel
    • electrically conductive rubber metals
    • rubber buffers according to drawing

descriptionarticle numberD(mm)H(mm)

d x t(mm)

tashorehardness+/-5

type CT 10x10

5833

10

10

M4x4

8

57

type CT 15x15

5834

15

15

M4x4

12

57

type CT 20x15

5835

20

15

M6x5

14

57

type CT 20x30

5573

20

30

M6x5

12

57

type CT 30x20

5432

30

20

M8x6

25

57

type CT 30x25

5836

30

25

M8x6

18

57

type CT 40x30

5837

40

30

M8x6

33

57

type CT 40x48

5721

40

48

M8x6

30

57

type CT 40x50

5722

40

50

M8x6

20

57

type CT 50x30

5434

50

30

M10x8

42

57

type CT 60x60

5838

60

60

M10x8

49

57

type CT 70x53

5839

70

53

M12x10

45

57

type CT 75x40

5436

75

40

M12x10

55

57

type CT 95x75

5934

95

75

M12x10

80

57

exemplary table in 57 shore with zinc-galvanized metal components - data on pressure- and thrust strain on request

schematic drawing of a rubber-metal bearing with inner threads on both sides and in between a waist-shaped elastomer corpus

generic data on storage time and duration of operation of elastomers and rubber-metal components

 

the prescribed storage time of our products is in accordance to DIN 95360:

storage time

from initial deliverymax. 10 quarter years (storage prior to installation)
from initial installationmax. 20 quarter years (storage prior to installation)

 

as maximum storage time, we adhere to the guidelines of ISO 2230:

group classificationinitial storage timeextended storage time (after checking the elements)
group A material (NR, SBR,BR,…)5 years2 years
group B material (NBR, CR, IIR,…)7 years3 years
group C material (EPDM, silicones,…)10 years5 years

To be noted: a deviation from the storage temperature of 25° C results in altered storage times - a storage temperature of +10 ° C ( from 25° C ) reduces the storage time by 50%, a storage temperature of -10 ° C ( from 25° C ) extends the storage time by 50%

 

the duration of operation - in accordance to DIN 95360 - is specified as below:

duration of operation

operating temperature [ °C ]allowed duration of operation in years with up to 3000 operating hours 4
-30 to 5510
-30 to 805
4 with excess of 3000 operating hours per year and/or the influence of aggressive media such as e.g. ozone, oil mist, salt water or salt-containing air, the possible duration of operation may reduce significantly

In general, if applied within the allowed load range and owing to the natural ageing process of rubber, a recommended duration of operation of max. 6 years must be assumed. Latest after this period, an inspection and assessment of a representative number of components should be executed.

Rubber-metal components and form-based rubber parts are maintenance-free during the operational period.

Replacement is due, if:
- by means of setting and creeping towards the direction of pressure only 70% of the initial rubber thickness is achieved
- by means of the influence of weathering several clearly visible cracks per cm² rubber surface have formed
- the items have swelled significantly under exposure of non-permissible oil wetting
- a loss of the rubber-metal adhesion has occured ( e.g. due to corrosion of the metal components )
- mechanical damage can be observed, which can lead to a further destruction of the product due to the notch sensitivity of the caoutchouc

The above information is provided in all conscience and to the best of knowledge, however, the former recommendation can only serve as a theoretical guideline, and does not absolve the user from the neccessity of own assessments and test procedures. bwz® Schwingungstechnik GmbH expressedly excludes any and all liability for damages or disadvantages whatsoever, even in regard to third party protective rights.

similar articles

a rubber-metal bearing with outer threads on both sides and in between a black, cylindrical elastomer corpus, isolated on white background

type A

outer thread on both sides

more
a rubber-metal bearing with outer thread, inner thread and in between a black, cylindrical elastomer corpus, isolated on white background

type B

outer-/inner thread

more
a rubber-metal bearing with inner threads on both sides and in between a black, cylindrical elastomer corpus, isolated on white background

type C

inner thread on both sides

more
a rubber-metal bearing with outer threads on both sides and in between a waist-shaped black elastomer corpus, isolated on white background

type AT

waist-shaped with outer thread on both sides

more

further elastomer products

a black, square rubber board made of elastomer NBR with small square indentions on the surface as non-slip protection, on top of which stands an upright black, round rubber disc without surface profiling and a centered hole, isolated on white background

absorption and non-slip boards

More
a group of three light-grey square elastomeric formpieces of various sizes with length- and sideway crossbars and fine, parallel grooves on the surface, isolated on white background

elastomeric formpieces NBR

More

Contact

bwz Schwingungstechnik GmbH
Felix-Wankel-Strasse 31
D-73760 Ostfildern/Nellingen
Germany

tel:   +49 711 / 340 179 0

e-mail: info@bwz-schwingungstechnik.de