• aus hochfestem Kunststoff
    präzise gefräst
  • mit Langlöchern
    zur Bodenverankerung
  • zur Maschinenpositionierung
    bei hohen Horizontalkräften
    und Wanderungsneigung
  • einfache Installation
    auch nachträglich möglich
    für bestehende Aufstellungen
  • 3 Größen erhältlich
    BFPK 7   passend für LBE 7 PH
    BFPK 10 passend für LBE 10 PH
    BFPK 13 passend für LBE 13 PH

BezeichnungArtikelnummer

passend fürNivellierelemente

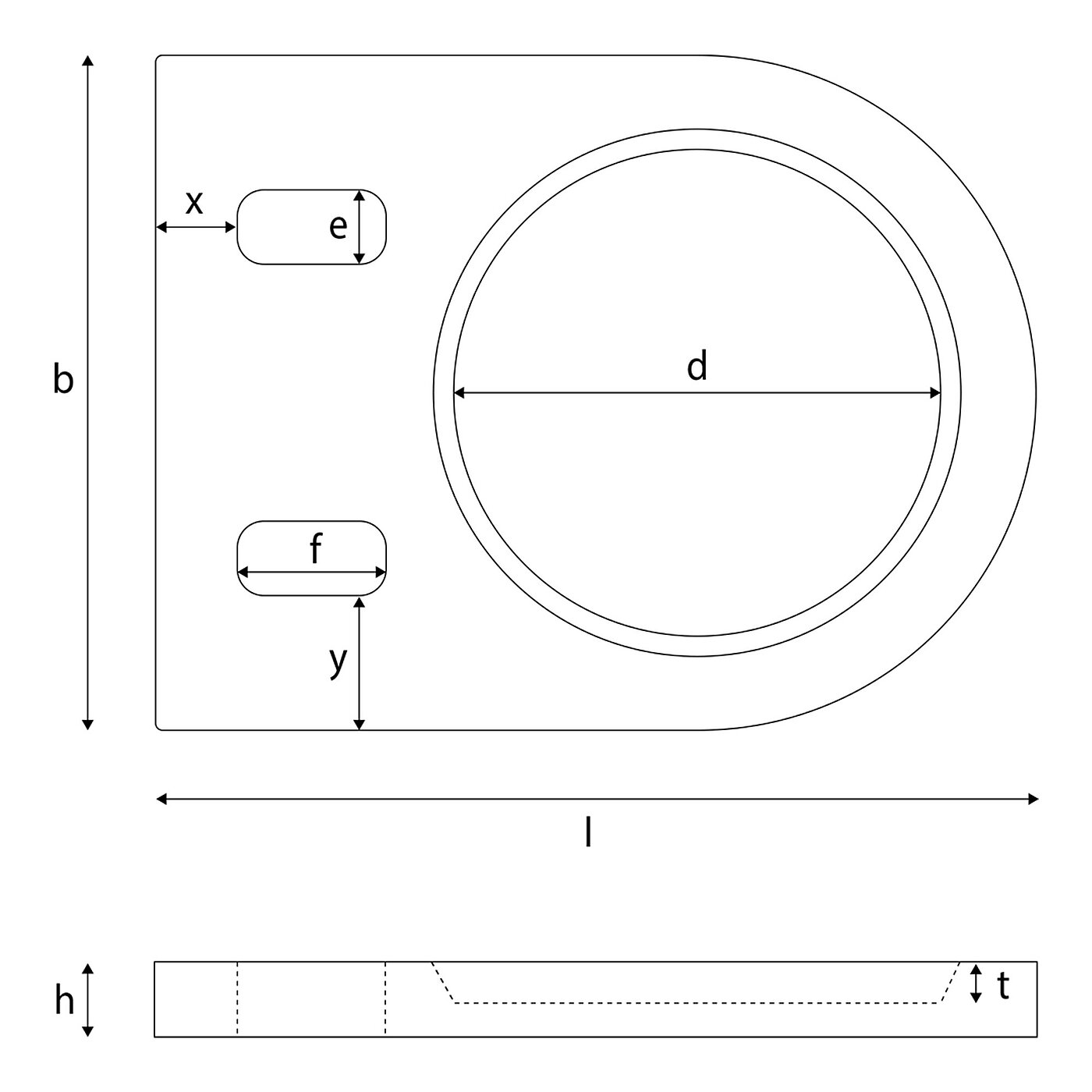
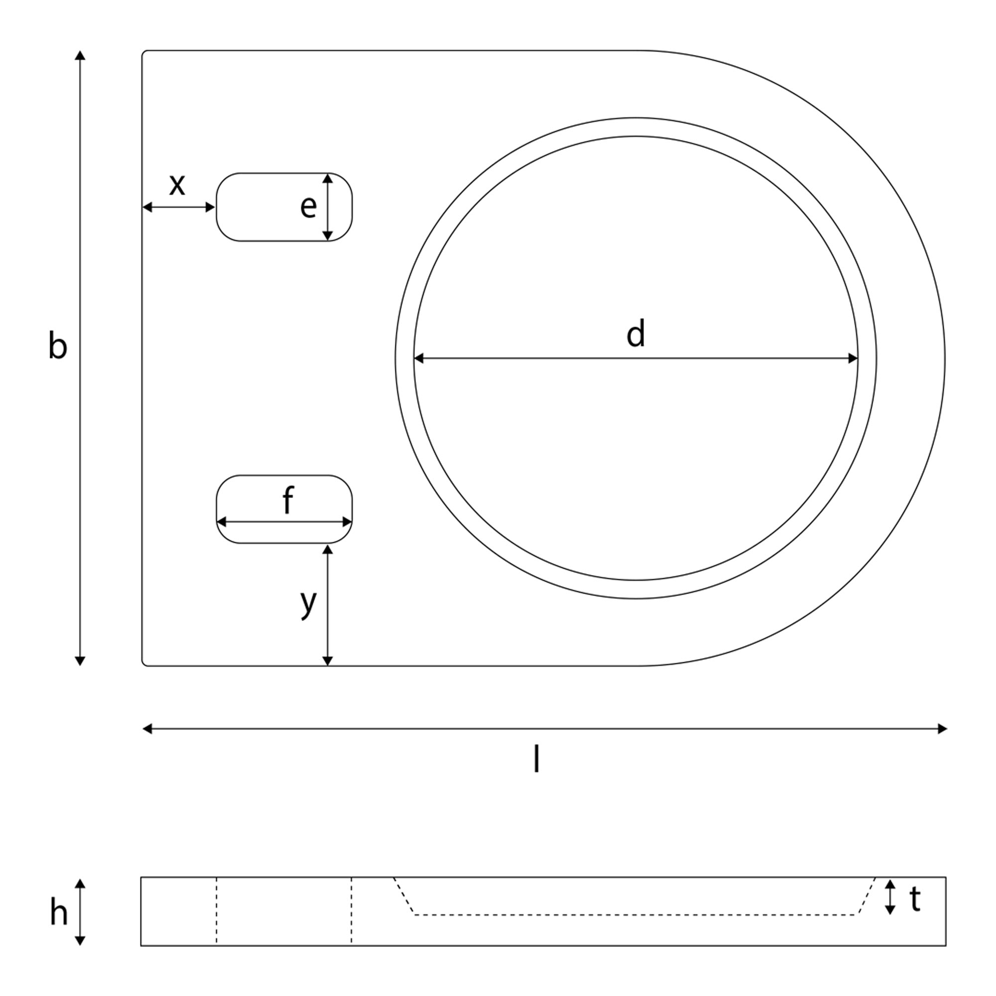
lxb(mm)h(mm)t(mm)d(mm)e(mm)f(mm)x(mm)y(mm)

BFPK 7

1998 0001LBE 7 PH130x1001167111221220
BFPK 101998 0002LBE 10 PH182,5x1251169913351720
BFPK 131998 0003LBE 13 PH229,5x159116129,518401520

 

eine schematische Strichzeichnung einer Befestigungsplatte aus gefrästem Kunststoff mit Langlöchern zur Bodenverankerung für Nivellierelemente in Seitenansicht und Draufsicht auf weißem Hintergrund

Bolzenanker FAZ

galvanisch verzinkt ( gvz ) - zur Verschraubung der Bodenbefestigungsplatten BFPK im Boden

BezeichnungArtikelnummerpassend fürBodenbefestigungsplattenMaterialGewindeØ x Länge(mm)SchlüsselweiteSW(mm)Bohrer-Nenndurchmesserd0(mm)

FAZ II 10/20 gvz

10320 00010

BFPK 7

verzinkt

M 10 x 63

17

10

FAZ II 12/10 gvz

10320 00007

BFPK 10

verzinkt

M 12 x 61

19

12

FAZ II 16/5 gvz

10320 00016

BFPK 13

verzinkt

M 16 x 64

24

16

BezeichnungArtikelnummerpassend für*Min. Bohrlochtiefe h2(mm)Dübellängel(mm)Nutzlänge max.hef,max./hef,min.tfixMontage-Drehmoment(Nm)

FAZ II 10/20 gvz

10320 00010

BFPK 7

95

105

20/40 mm

45

FAZ II 12/10 gvz

10320 00007

BFPK 10

100

110

10/30 mm

60

FAZ II 16/5 gvz

10320 00016BFPK 13

115

128

5/25 mm

110

*bei Durchsteckmontage

ein verzinkter Bodenanker mit Gewinde über die halbe obere Länge, Mutter und Scheibe oben und Spreizspitze unten, freigestellt auf weißem Hintergrund
eine schematische Zeichnung für die Montage von Bodenankern in der Wand oder im Boden

hierzu passend

ein Gruppenbild von drei Maschinenfüßen unterschiedlicher Größe aus glänzendem Edelstahl mit verschiedenen Durchmessern, unterschiedlichen pendelnden Gewinden und schwarzem Elastomer NBR im Fußteller, freigestellt auf weißem Hintergrund

Nivellierelemente

LBE 7-10-13 PH

Mehr

Kontakt

bwz Schwingungstechnik GmbH
Felix-Wankel-Strasse 31
D-73760 Ostfildern/Nellingen

Tel:   +49 711 / 340 179 0

E-Mail:
info@bwz-schwingungstechnik.de